Instrumentpaal 2 instrumenten

Prijsklasse: € 226,57 tot € 256,12

Uitleg:
Lengte; is hoogte in cm, andere maten kunnen per email door worden gegeven. Kies in dat geval, de lengte die het meest overeen komt. De juiste prijs zal in de offerte worden verwerkt.
Materiaal kan worden gekozen uit RVS-316 of staal verzinkt. Dit geeft geen prijsconsequentie.

Maak je keuze:

Artikelnummer: GU00316-1 Categorie: Tags: , ,

Beschrijving

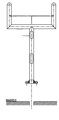
Instrumentpaal voor 2 instrumenten. De instrumentpaal bestaat uit de posities: 246/247/248/249/250/251. De bijbehorende voetplaat is afzonderlijk te bestellen (artikel GU001-1). Selecteer de hoogte van maaiveld tot top van de paal.

Weergaven: 8

Aanvullende informatie

Lengte

1500, 1600, 1700, 1800, 1900, 2000

Materiaal

,

Bestel Dit product heeft meerdere variaties. Deze optie kan gekozen worden op de productpagina